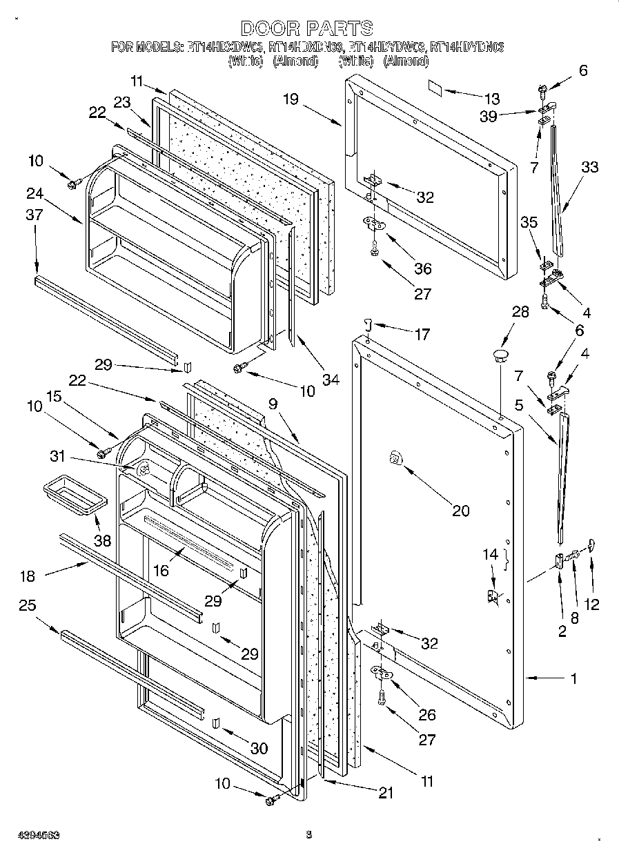
RT14HDYDN03 02 – DOOR