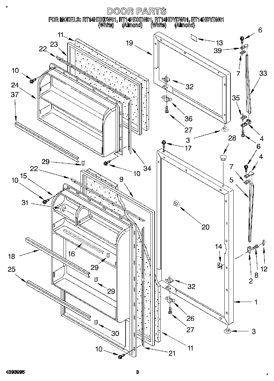
RT14HDYDW01 02 – DOOR