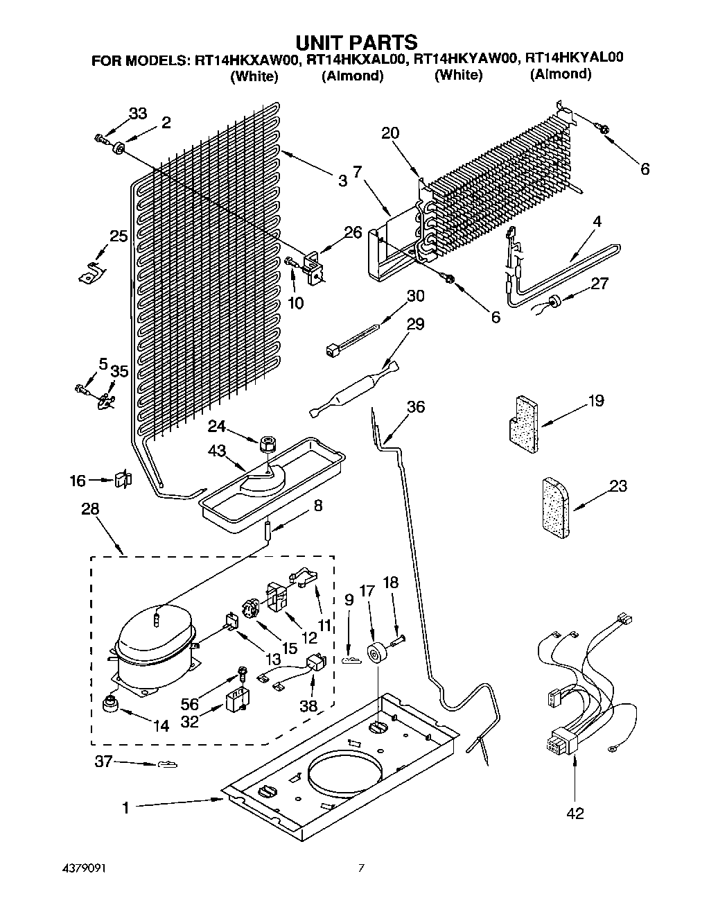
RT14HKYAL00 04 – UNIT