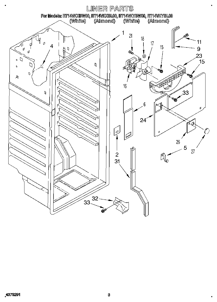
RT14VKXBL00 02 – LINER