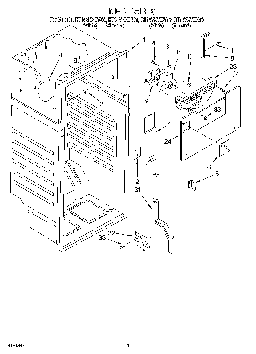
RT14VKYEN00 02 – LINER