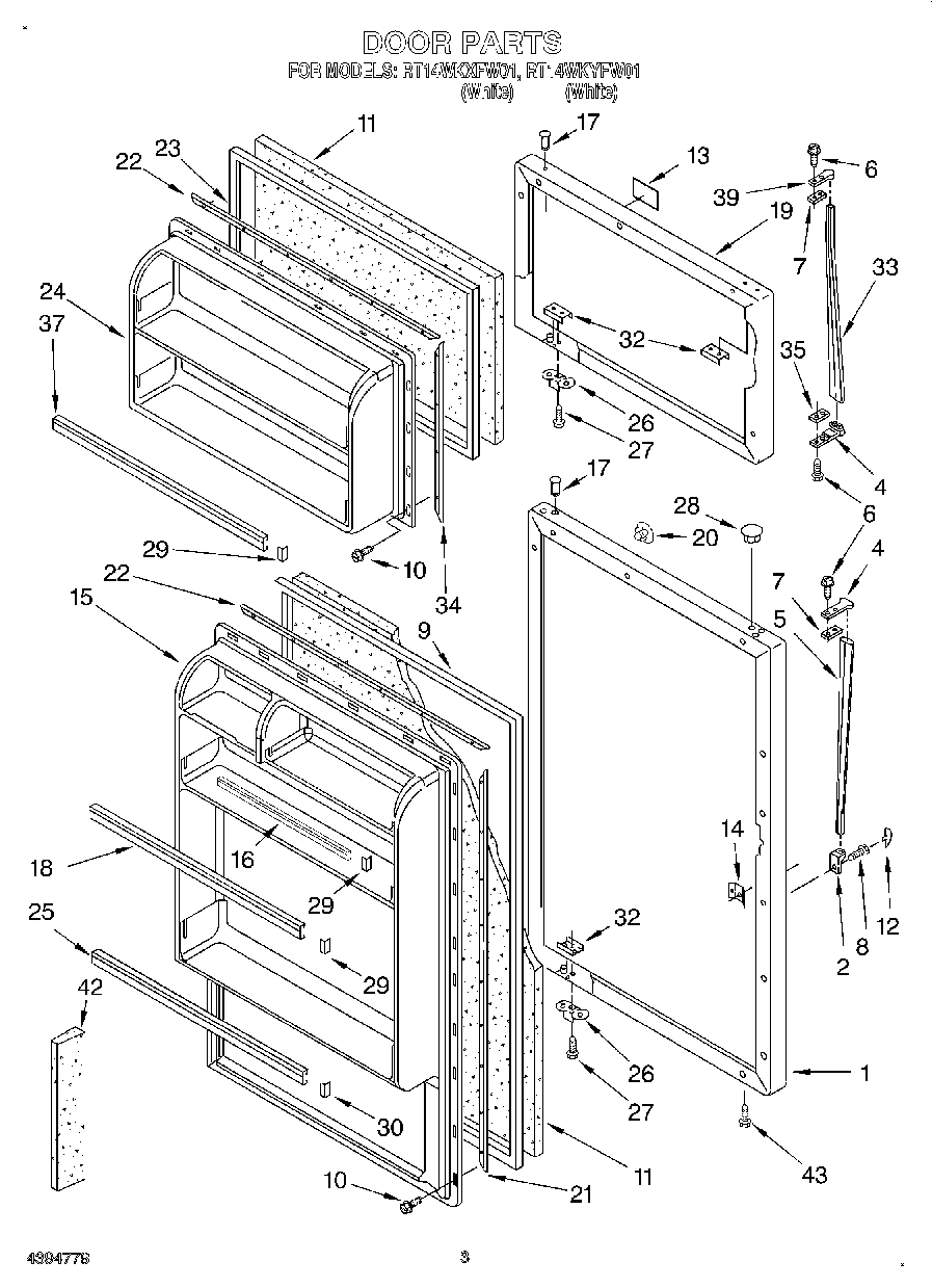
RT14WKXFW01 02 – DOOR