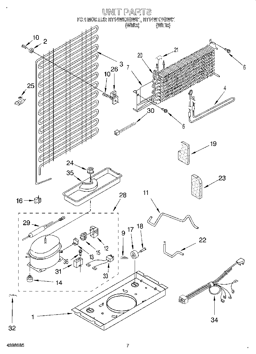
RT14WKXGW01 04 – UNIT

RT14WKXGW01 04 – UNIT