RT14ZKXDW00 04 – UNIT

RT14ZKXDW00 04 – UNIT

Products

PositionProduct
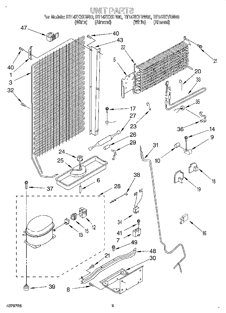
1Bracket
3Condenser Assembly
5Heat Shield
6Spacer
7Capacitor
8WP250830 Whirlpool Refrigerator Screw
9Clamp Tube
10Dampener
12WP2162358 Whirlpool Refrigerator Terminal Cover
134387913 Whirlpool Refrigerator Primary Overload Relay
13Overload (Production (Includes Relay))
14WPW10141625 Whirlpool Refrigerator Screw Assembly
15Relay (See Overload)
16WP717253 Whirlpool Dishwasher Connector
17303776 Whirlpool Dishwasher Screw
18Side Block, Right Evaporator
19Side Block, Left Evaporator
20Clip, Heater (2)
21489340 Whirlpool Refrigerator Screw
22Evaporator
23Support, Heater
24285002 Whirlpool Nut
25Tray, Evaporator
26Restrictor Sleeve
27W10843121 Whirlpool Refrigerator Tube
28Compressor (Includes Items 7, 12, 13, 15, 34, 37, 39) (Also Order)
28876765 Whirlpool Primary Mounting Kit Refrigerator
28Installation Kit
29Clamp, Dryer
30Unit Mounting Plate
31Exchanger, Heat
33Heater, Defrost
34WP2172890 Whirlpool Refrigerator Wire
35WP4387499 Whirlpool Refrigerator Bimetallic Defrost
36Clamp
38Overload Wiring (White)
38Overload Wiring (Red)
39876811 Whirlpool Grommet
40WP489478 Whirlpool Refrigerator Screw
41W11693756 Whirlpool Screw Assembly
43Channel, Condenser (Right)
43Channel, Condenser (Left)
47Bumper (2)
48Unit Mounting Rail
49VALVE, ACCESS (5/8``)
49WP965173 Whirlpool Dishwasher Screw
49978026 Whirlpool Refrigerator Primary Valve
49978027 Whirlpool Refrigerator Primary Valve
49876764 Whirlpool Refrigerator Primary Valve
49VALVE, ACCESS (1/2``)
49978030 Whirlpool Refrigerator Valve
49WP978025 Whirlpool Refrigerator Valve