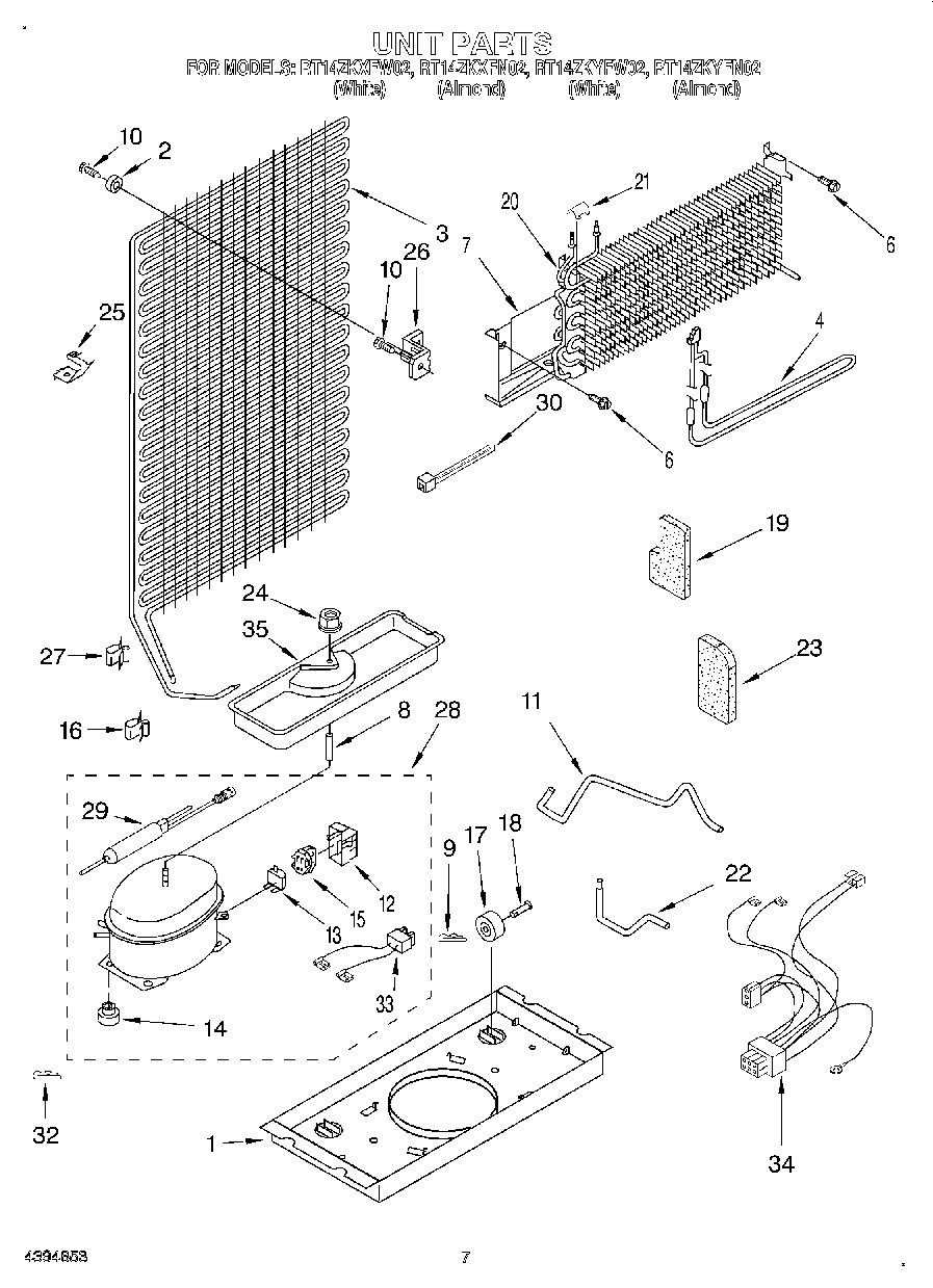
RT14ZKXFN02 04 – UNIT

RT14ZKXFN02 04 – UNIT