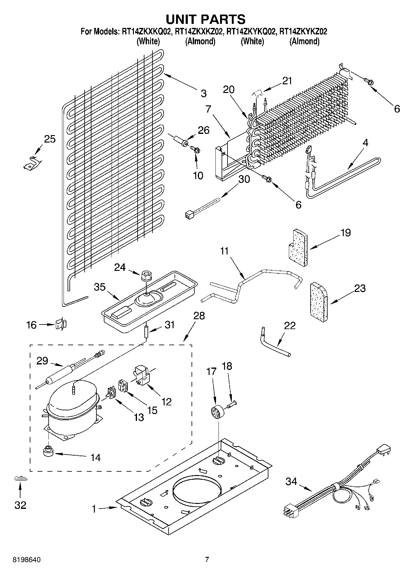
RT14ZKXKQ02 04 – UNIT PARTSadmin2025-04-26T11:02:38+00:00RT14ZKXKQ02 04 – UNIT PARTS ProductsPositionProduct1WPW10222451 Whirlpool Refrigerator Support3WP2252730 Whirlpool Refrigerator Condenser4WP2263749 Whirlpool Defrost Heater Assembly6WP489442 Whirlpool Refrigerator Screw7Heat Shield10Screw11Tube, Discharge12WP2162358 Whirlpool Refrigerator Terminal Cover13WP4387938 Whirlpool Refrigerator Overload13WP2149959 Whirlpool Refrigerator Overload14WP4387558 Whirlpool Refrigerator Compressor Grommet14WP2163786 Whirlpool Refrigerator Grommet15WP2258450 Whirlpool Refrigerator Start Device16W10812038 Whirlpool Refrigerator Clip17WPW10475495 Whirlpool Roller Assembly18W11594405 Whirlpool Axle198201619 Whirlpool Refrigerator Support Assembly20WP2263919 Whirlpool Refrigerator Evaporator219791833 Whirlpool Refrigerator Clip22Tube, Process24285002 Whirlpool Nut254386951 Whirlpool Refrigerator Clip262258452 Whirlpool Refrigerator Spacer28W10823815 Whirlpool Refrigerator Compressor29W10843121 Whirlpool Refrigerator Tube30WPW10339879 Whirlpool Wire Tie31Spacer32Clip, Compressor34Wire Assy. Unit35Following Parts Not Illustrated and Optional Parts Not Included35Tray, Evaporator35VALVE, ACCESS (5/8``)35VALVE, ACCESS (1/2``)35WP978025 Whirlpool Refrigerator Valve35978030 Whirlpool Refrigerator Valve35978027 Whirlpool Refrigerator Primary Valve35978026 Whirlpool Refrigerator Primary Valve35876764 Whirlpool Refrigerator Primary Valve35REFRIGERANT CHARGE 3.75 Ozs. (R134A)