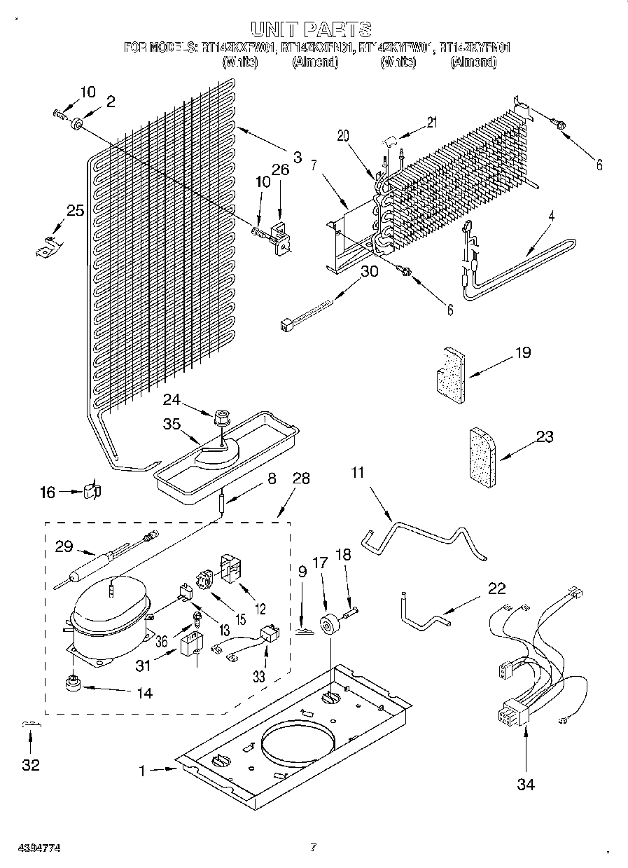
RT14ZKYFN01 04 – UNIT

RT14ZKYFN01 04 – UNIT