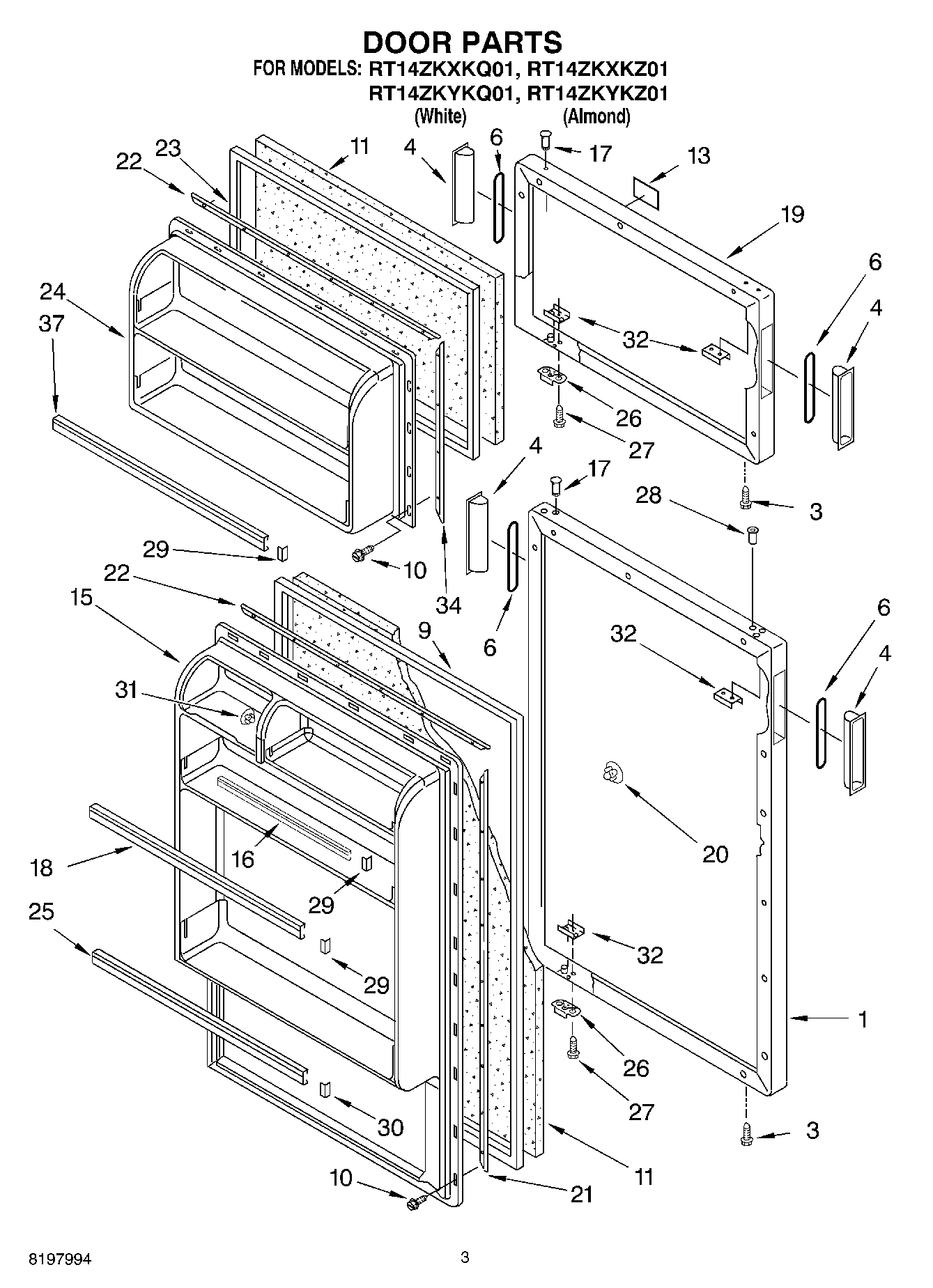
RT14ZKYKZ01 02 – DOOR