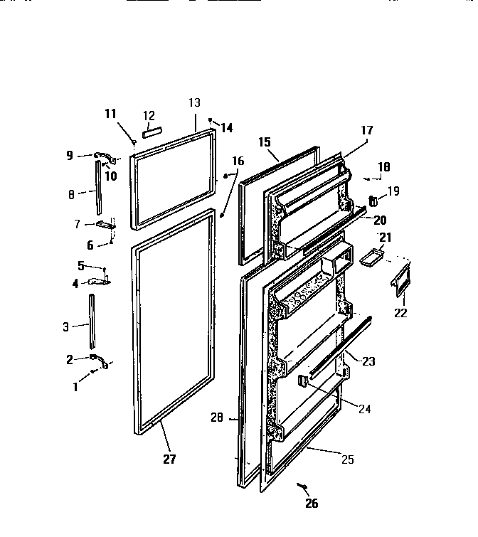
RT153HCD0 02 – DOOR