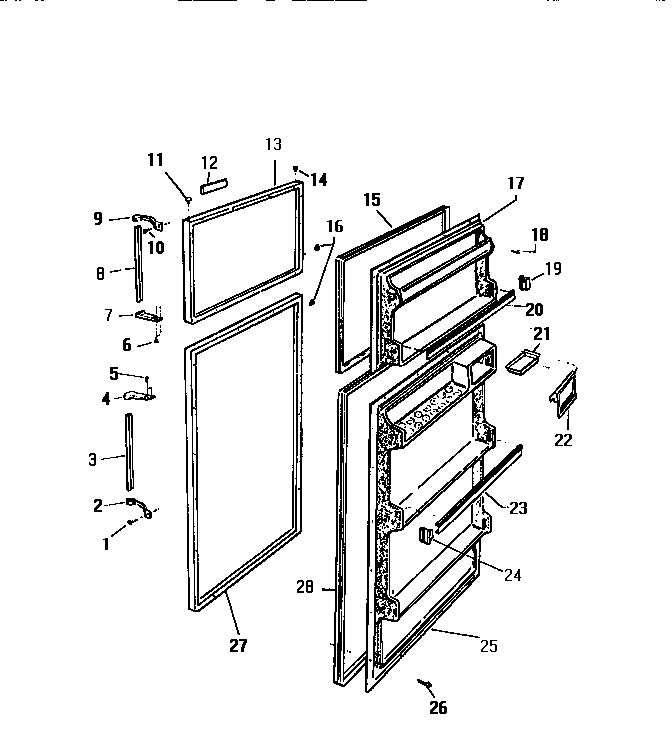
RT153HCH2 02 – DOOR