| *05766 | FIBERGLASS INSULATION 34``X48``X1``TH |
| *05765 | FIBERGLASS 34``X48``X11/2 `` TH |
| *05767 | FIBERGLASS INSULATION 34``X48``X1/2`` TH |
| *05771 | TOUCH UP PAINT, 1 OZ., AVOCADO |
| *05764 | PLASTIC BAG |
| *05774 | WCI G162977-08 |
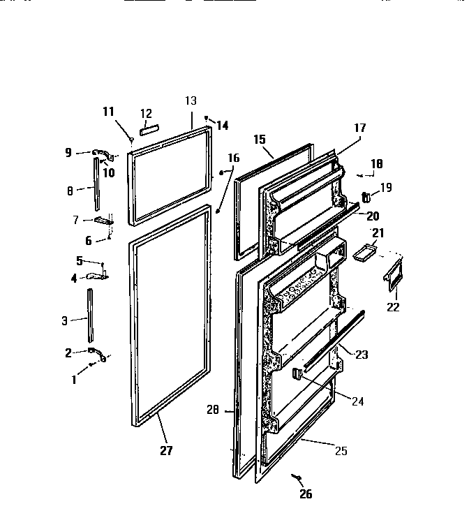
| 2 | WCI G175810 |
| 7 | WCI G187329-01 |
| 8 | WCI G175666-09 |
| 9 | END-HANDLE TOP |
| 10 | WCI G185566 |
| 11 | WCI G169332-09 |
| 12 | WCI G177290 |
| 13 | PANEL-FREEZER AVOC |
| 14 | BEARING, HINGE (3) |
| 15 | GASKET-FREEZER |
| 16 | 240494001 Frigidaire Refrigerator Plug Button |
| 17 | WCI R186463-01 |
| 21 | 5308000716 Frigidaire Refrigerator Dish |
| 22 | DOOR-DAIRY |
| 23 | RACK DOOR (3) |
| 24A | SUPPORT-RACK LH (3) |
| 24 | SUPPORT-RACK RH (3) |
| 25 | PANEL-INNER REFRIGERATOR |
| 26 | 218843801 Frigidaire Refrigerator Screw |
| 27 | PANEL-REFR AVOCADO |
| 28 | GASKET-REFRIGERATOR |