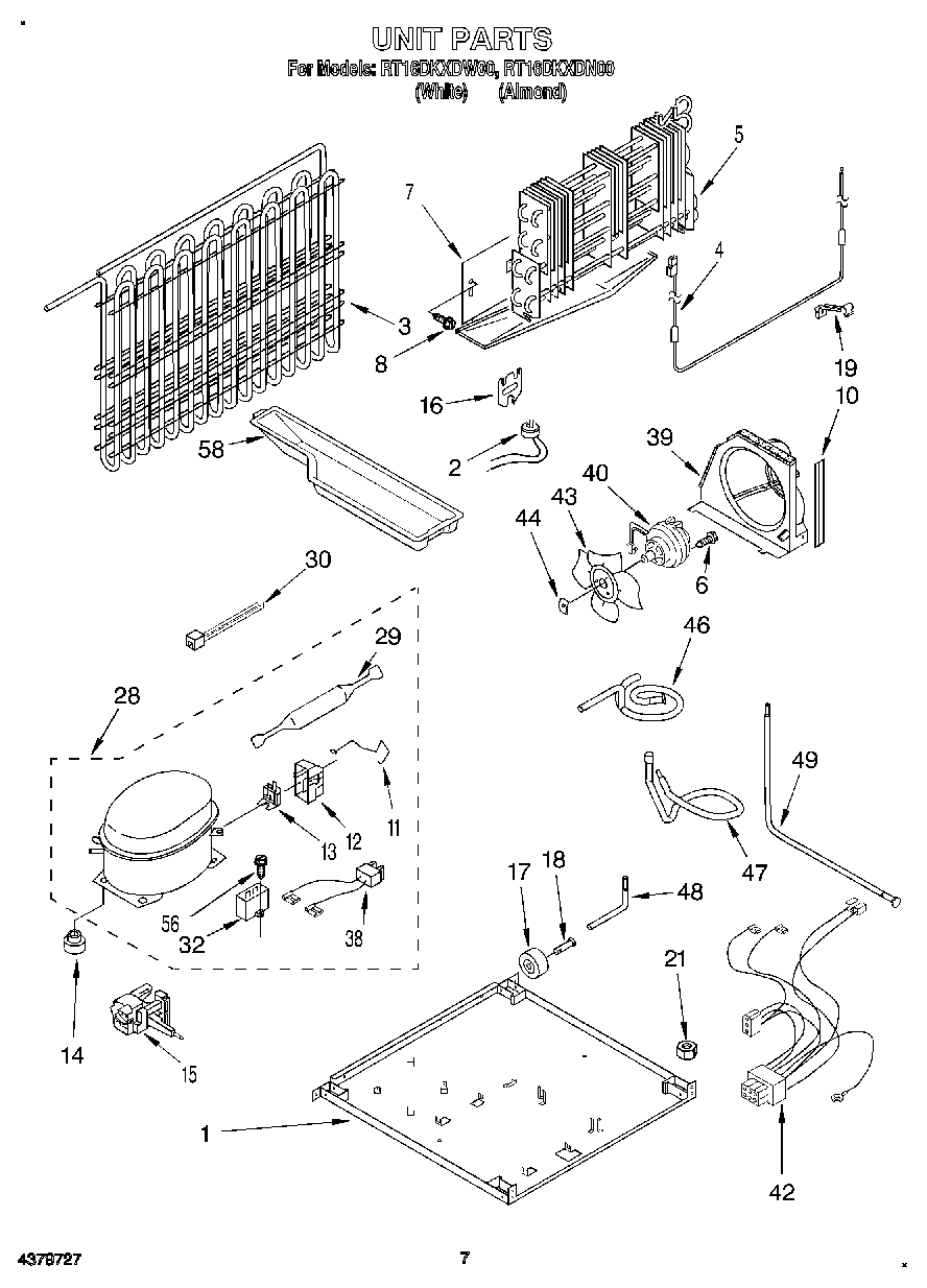
| 1 | Plate, Unit Mounting |
| 2 | WP4387503 Whirlpool Refrigerator Bimetal Defrost Thermostat |
| 3 | Condenser |
| 4 | WP2315531 Whirlpool Refrigerator Heater |
| 5 | Evaporator Assy. |
| 6 | Screw |
| 7 | Heat Shield and Drain Pan |
| 8 | WP489478 Whirlpool Refrigerator Screw |
| 10 | Extension, Air Baffle |
| 11 | Clamp (Production Only) |
| 12 | WP2162358 Whirlpool Refrigerator Terminal Cover |
| 13 | 4387913 Whirlpool Refrigerator Primary Overload Relay |
| 14 | 876811 Whirlpool Grommet |
| 14 | Grommet (4) (Production) |
| 15 | 8201547 Whirlpool Refrigerator Start Relay |
| 16 | Bracket, Heater |
| 17 | Roller (2) |
| 18 | W11594405 Whirlpool Axle |
| 19 | Clip, Heater |
| 21 | Nut (Not Serviced) |
| 28 | 876765 Whirlpool Primary Mounting Kit Refrigerator |
| 28 | Installation Kit |
| 28 | W10309988 Whirlpool Refrigerator Compressor |
| 29 | W10843121 Whirlpool Refrigerator Tube |
| 30 | WPW10339879 Whirlpool Wire Tie |
| 32 | Capacitor |
| 32 | Running Capacitor (Service) |
| 38 | WP2172890 Whirlpool Refrigerator Wire |
| 39 | Baffle, Air |
| 40 | W10822259 Whirlpool Refrigerator Condenser Fan Motor |
| 42 | Wire Assy., Unit |
| 43 | Fan, Blade |
| 44 | WP486692 Whirlpool Refrigerator Nut |
| 46 | Tube, Discharge |
| 47 | Tube, Suction |
| 48 | 2154109 Whirlpool Refrigerator Tube |
| 49 | Tube, Condenser To Heat Loop |
| 56 | W11693756 Whirlpool Screw Assembly |
| 58 | 876764 Whirlpool Refrigerator Primary Valve |
| 58 | 978026 Whirlpool Refrigerator Primary Valve |
| 58 | 978027 Whirlpool Refrigerator Primary Valve |
| 58 | Start Kit |
| 58 | 978030 Whirlpool Refrigerator Valve |
| 58 | WP978025 Whirlpool Refrigerator Valve |
| 58 | VALVE, ACCESS (1/2``) |
| 58 | Evap. Tray |
| 58 | VALVE, ACCESS (5/8``) |