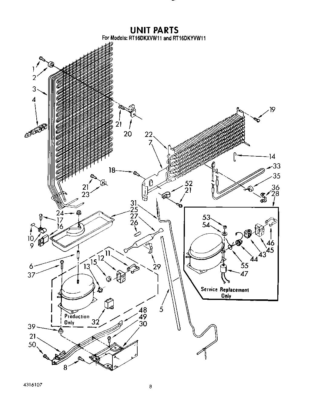
RT16DKXVG11 07 – UNIT