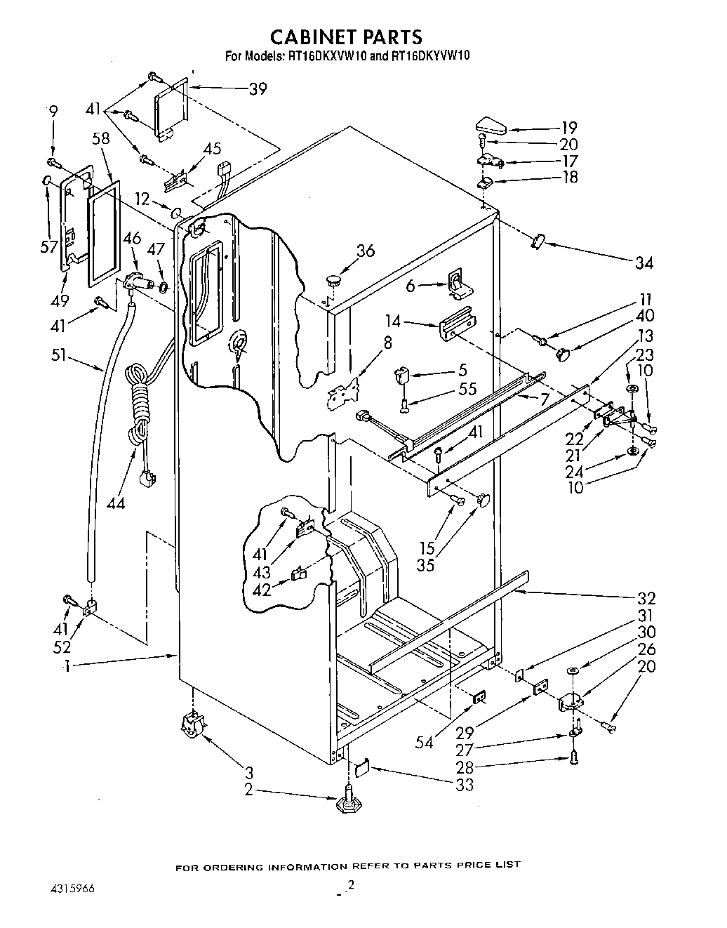
RT16DKXVL10 02 – CABINET

RT16DKXVL10 02 – CABINET