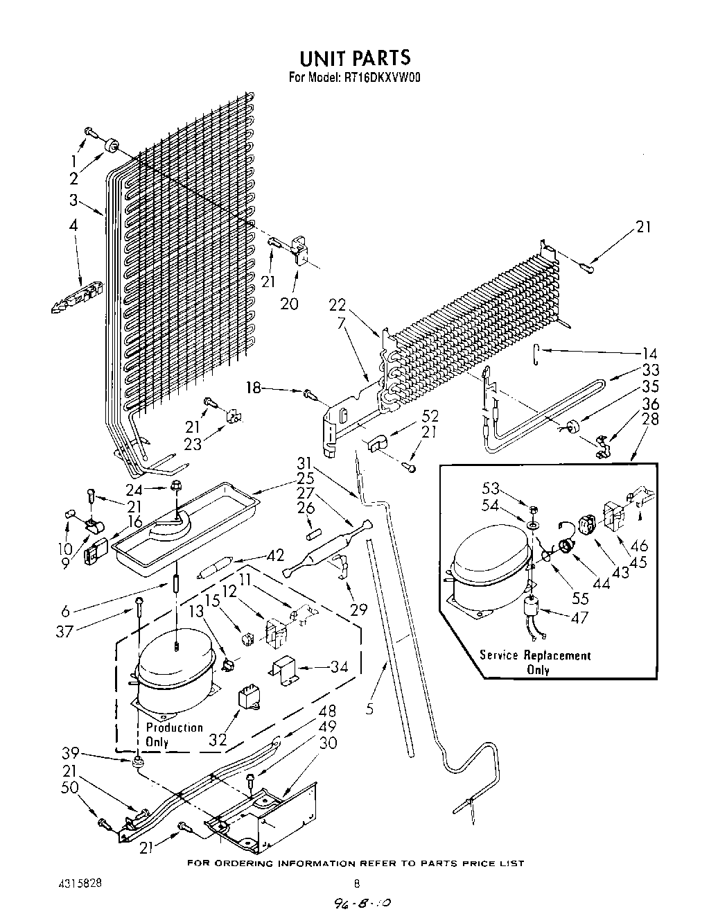
RT16DKXVW00 07 – UNIT