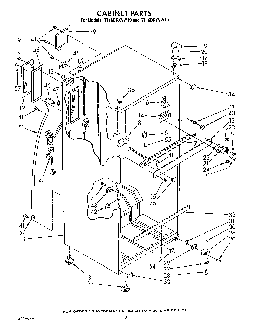
RT16DKXVW10 02 – CABINET

RT16DKXVW10 02 – CABINET