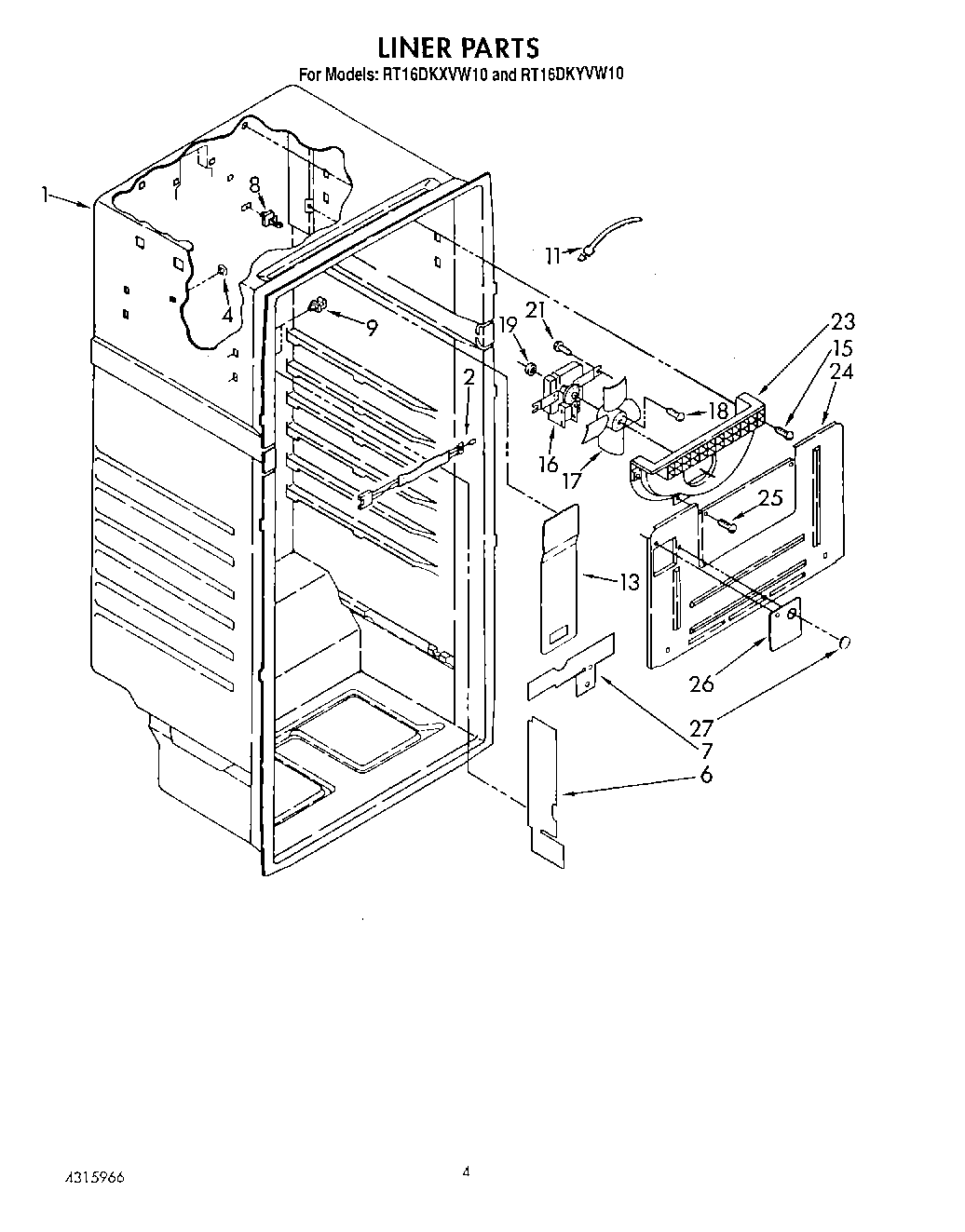
RT16DKXVW10 03 – LINER