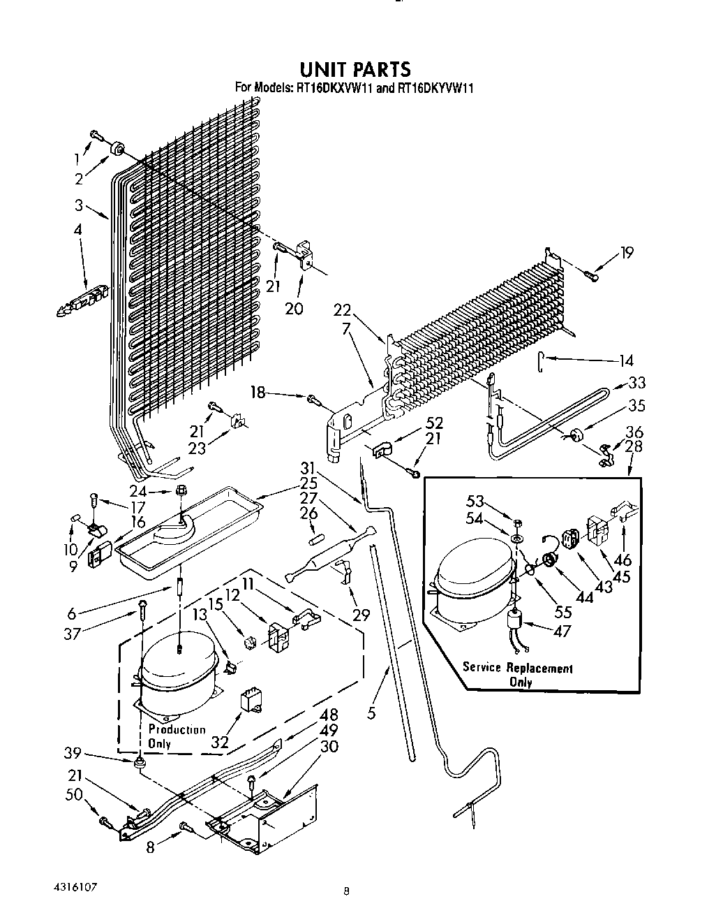
RT16DKXVW11 07 – UNIT