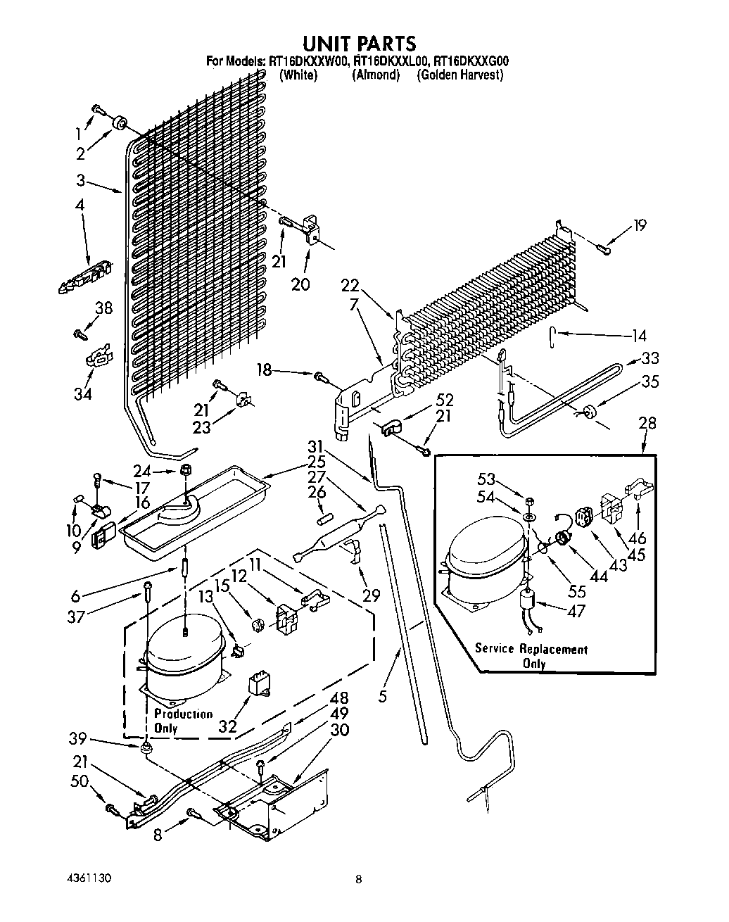
RT16DKXXL00 07 – UNIT