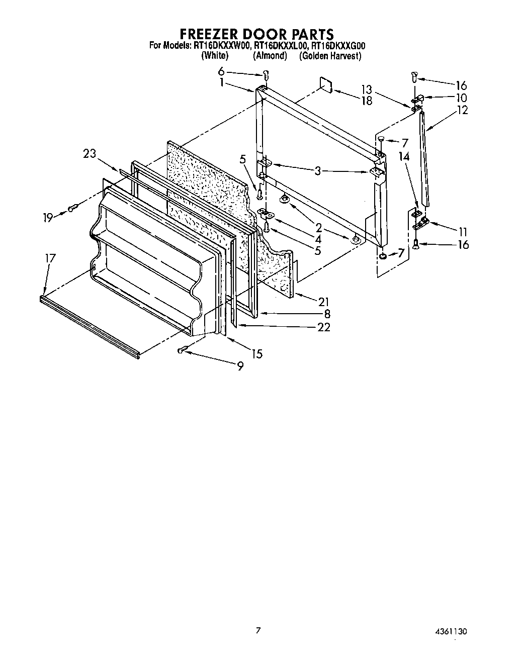
RT16DKXXW00 06 – FREEZER DOOR