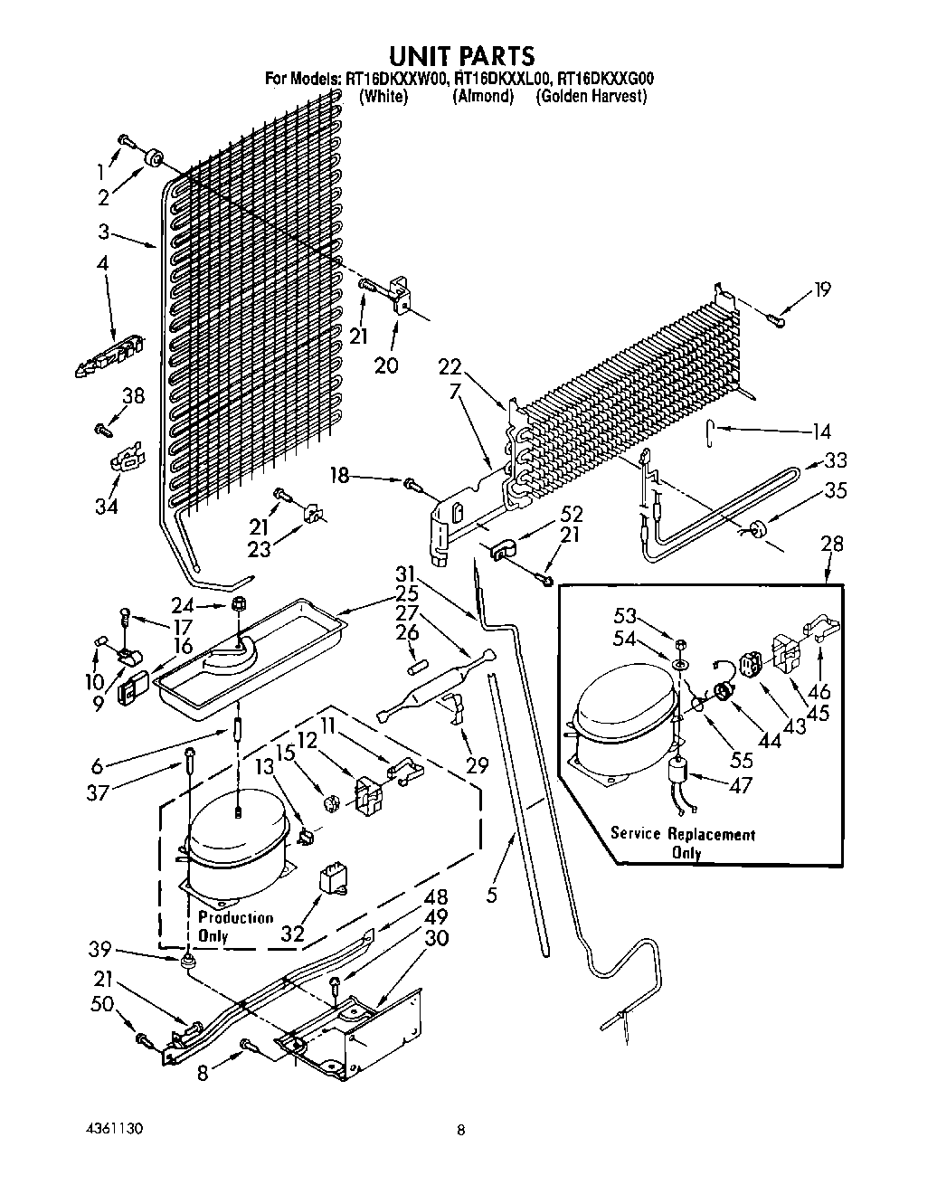
RT16DKXXW00 07 – UNIT