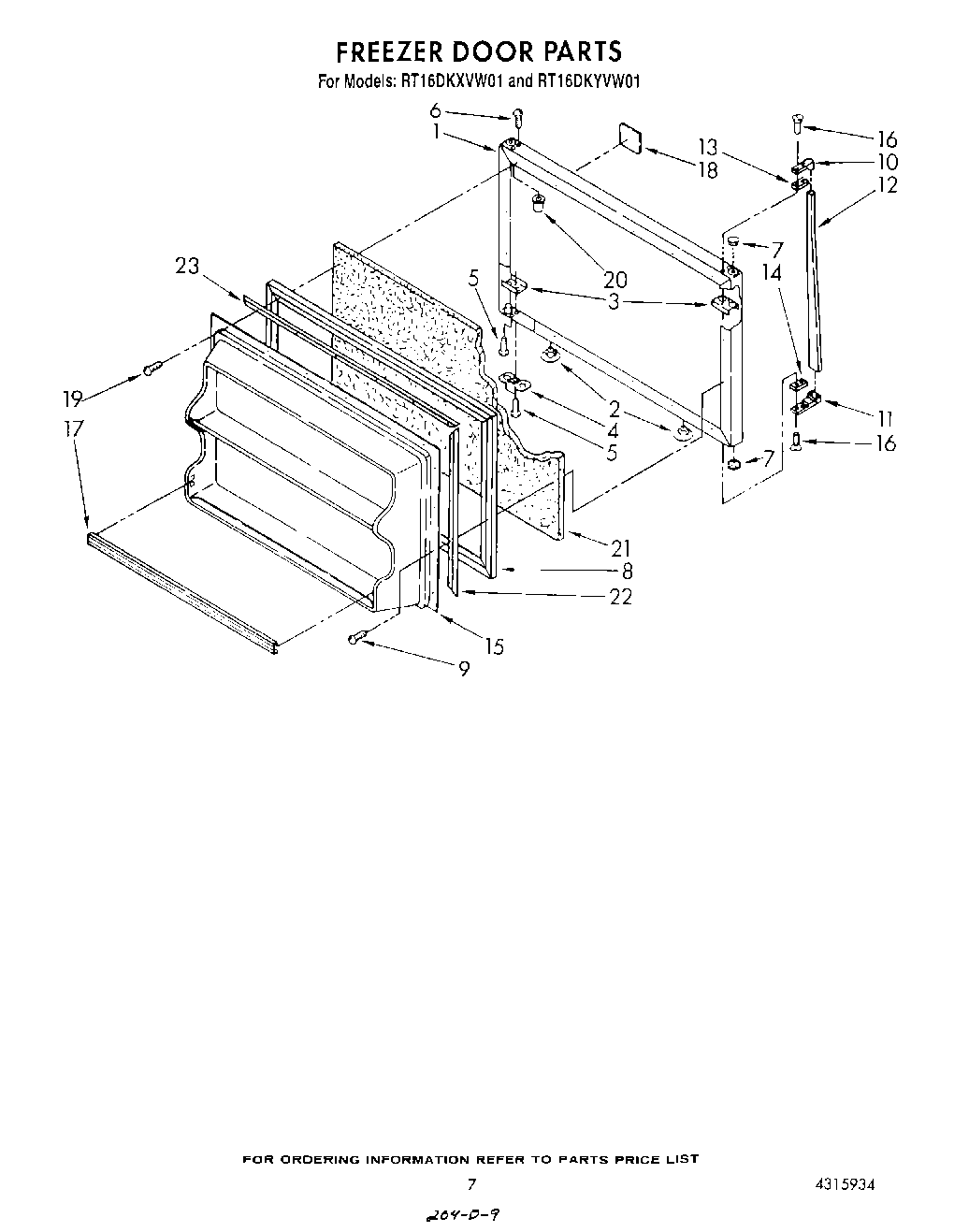
RT16DKYVG01 06 – FREEZER DOOR