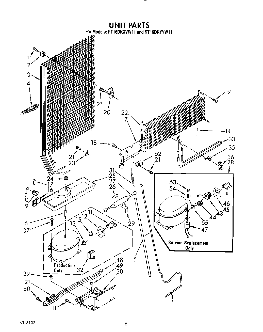
RT16DKYVW11 07 – UNIT