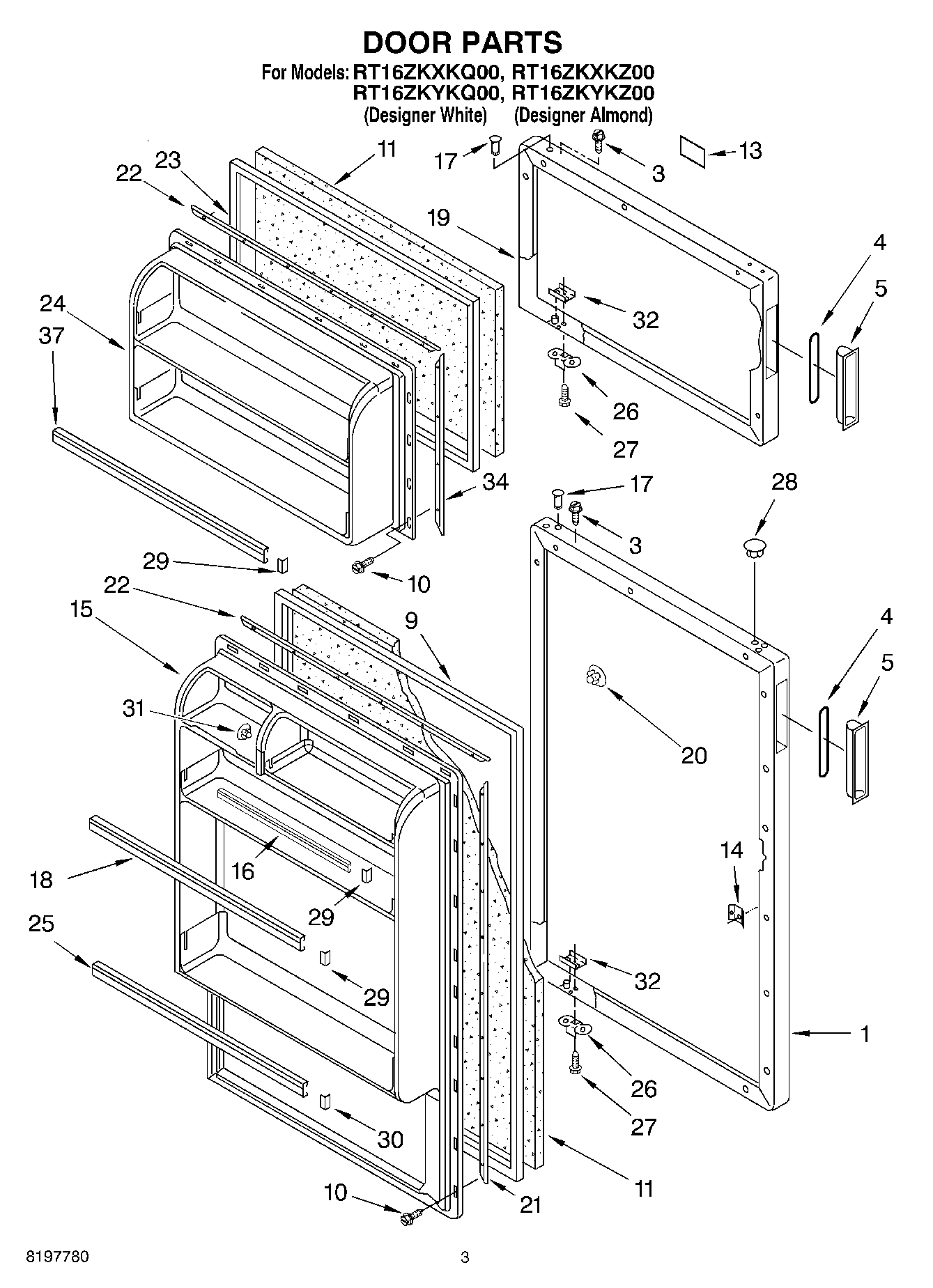
RT16ZKXKQ00 02 – DOOR