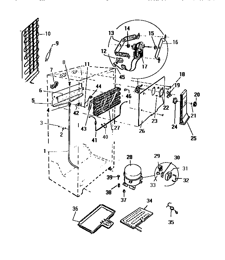
RT170GCF4 04 – COOLING SYSTEMadmin2025-04-26T10:25:39+00:00RT170GCF4 04 – COOLING SYSTEM ProductsPositionProduct*11935LABEL-FAN CVR*11932HEAT EXCHANGER REPAIR KIT*11936WCI G1762101DRAIN TUBE (CUT TO LENGTH)2WCI G1017474ELBOW, DRAIN5WCI G1700716INSULATOR7TROUGH8WCI G1016209AWCI R9001259DRIER-REGULAR10WCI G16335612WCI G16457113BRACKET, REAR MOTOR MOUNTING15G187559 Frigidaire Refrigerator Bushing16BRACKET, FRONT MOTOR MOUNTING175300158289 Frigidaire Evaporator Fan Motor195308000010 Frigidaire Refrigerator Evaporator Fan Blade20WCI G162663-1321NUT, DAMPER MOUNTING22RING, FAN ORIFICE23WCI G16270124DAMPER FAN COVER25COVER26WCI G162050-0227EVAPORATOR28COMPRESSOR W/ELECT.29WCI G182225-1231WCI G18579232STRAP-COVER33WCI G18579734DEFROST PLATE (NON-ILLUSTRATED)35CORD, SERVICE36PAN, DEFROST37218513300 Frigidaire Refrigerator Compressor Mount Grommet38SLEEVE COMP MTG (3)39WCI G154589405308000110 Frigidaire Refrigerator Evaporator/Heater Primary Strap415317842502 Frigidaire Defrost Heater42SPOUT DRAIN TUBE43EXCHANGER-HEAT445303917954 Frigidaire Refrigerator Defrost Limit Thermostat Kit45WCI Q40160146WCI G163099