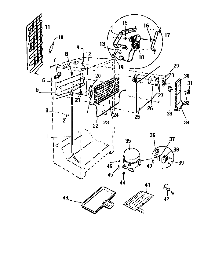
RT178GCD2 04 – COOLING SYSTEMadmin2025-04-26T10:26:12+00:00RT178GCD2 04 – COOLING SYSTEM ProductsPositionProduct*86414WCI G176210*86403HARNESS COMPR1WCI G155529-042WCI G1017474ELBOW, DRAIN5WCI G1700716INSULATOR7TROUGH8WCI G1016209WCI G16309910WCI R90012510DRIER-REGULAR11WCI G16273913WCI G16457114BRACKET, REAR MOTOR MOUNTING16G187559 Frigidaire Refrigerator Bushing17BRACKET, FRONT MOTOR MOUNTING185300158289 Frigidaire Evaporator Fan Motor205303917954 Frigidaire Refrigerator Defrost Limit Thermostat Kit21SPOUT DRAIN TUBE225317842502 Frigidaire Defrost Heater22BEXCHANGER-HEAT22AHEAT EXCHANGER REPAIR KIT235308000110 Frigidaire Refrigerator Evaporator/Heater Primary Strap24EVAPORATOR25WCI G162050-0126WCI G16270127RING, FAN ORIFICE285308000010 Frigidaire Refrigerator Evaporator Fan Blade29WCI Q40160130LABEL-FAN CVR31WCI G162663-1332NUT, DAMPER MOUNTING33DAMPER FAN COVER34WCI G179792-0135COMPRESSOR W/ELECT.36WCI G150618-2637CLIP, OVERLOAD395303006412 Frigidaire Refrigerator Cover Mounting Strap40OVERLOAD41DEFROST PLATE42CORD, SERVICE43PAN, DEFROST44218513300 Frigidaire Refrigerator Compressor Mount Grommet45SLEEVE COMP MTG (3)46WASHER, COMPRESSOR MOUNTING (4)