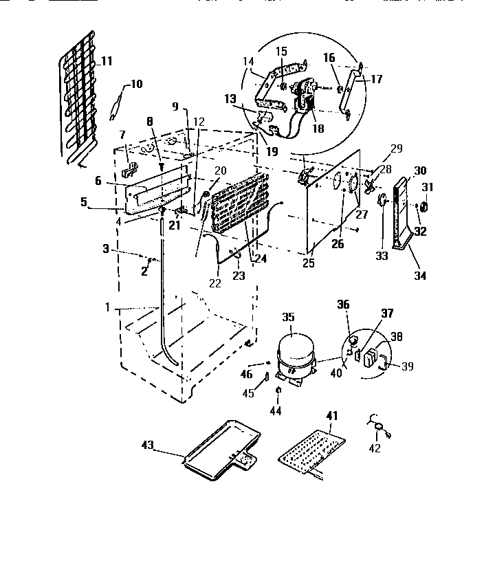
RT178GCD3 04 – COOLING SYSTEM