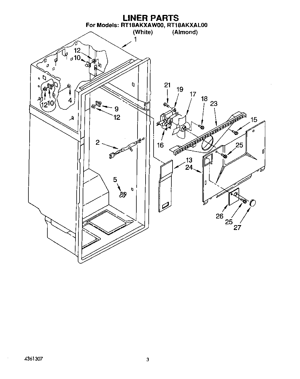
RT18AKXAL00 02 – LINER