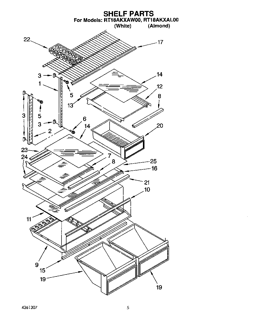
RT18AKXAW00 04 – SHELF