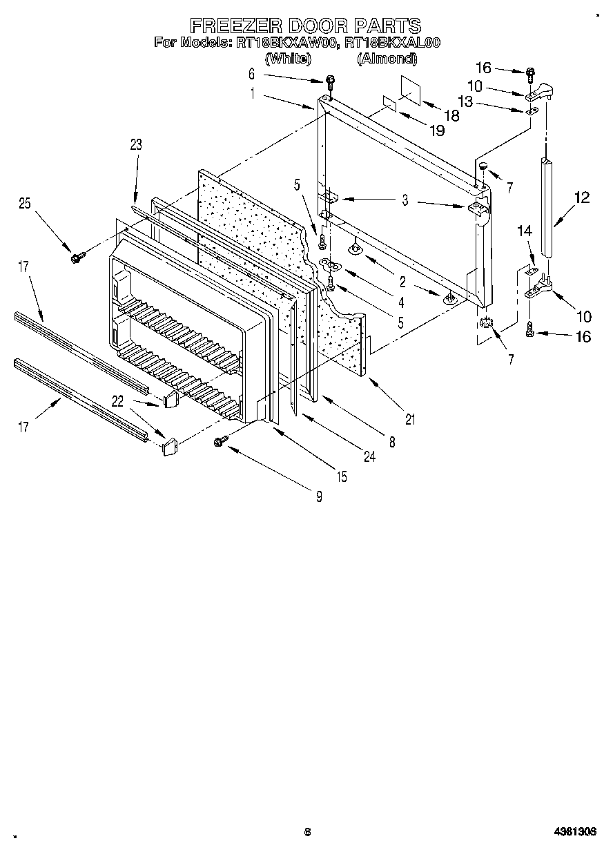
RT18BKXAW00 05 – FREEZER DOOR