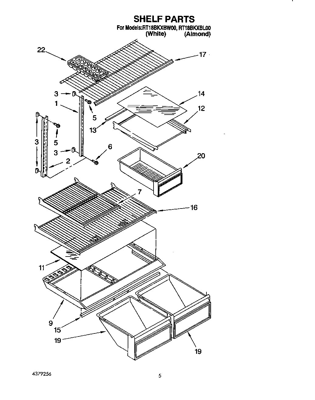
| 1 | Shelf, Ladder (2) |
| 2 | Shelf, Ladder Center |
| 3 | 520965 Whirlpool Refrigerator Support |
| 5 | Screw (3) |
| 6 | WP488163 Whirlpool Refrigerator Screw |
| 7 | Shelf, Cantilever |
| 9 | Crisper Cover |
| 11 | Glass, Crisper Cover |
| 12 | Pan Shelf, Cantilever |
| 13 | Retainer, Glass |
| 14 | Glass, Meat Cover |
| 15 | WP2172748 Whirlpool Drawer Support |
| 16 | Shelf, Full Cantilever |
| 17 | Shelf, Freezer |
| 19 | Pan, Crisper |
| 20 | Pan, Meat |
| 22 | WP841180A Whirlpool Microwave Glass Turntable Tray |