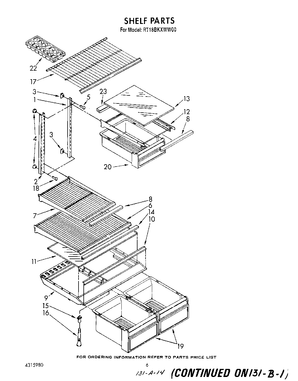
RT18BKXWL00 05 – SHELF