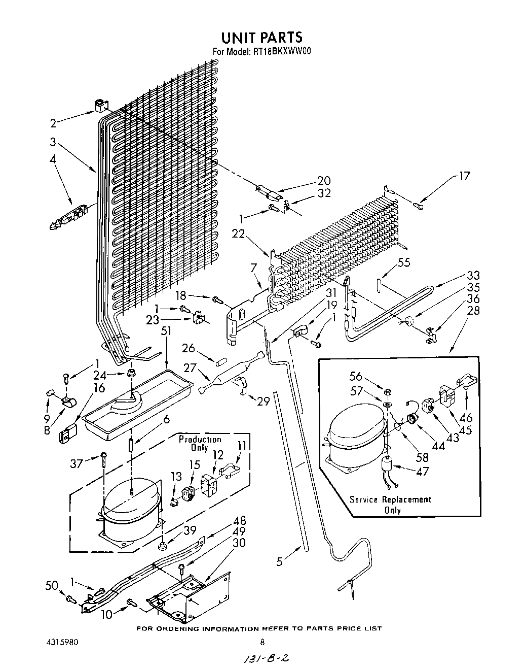
RT18BKXWW00 07 – UNIT