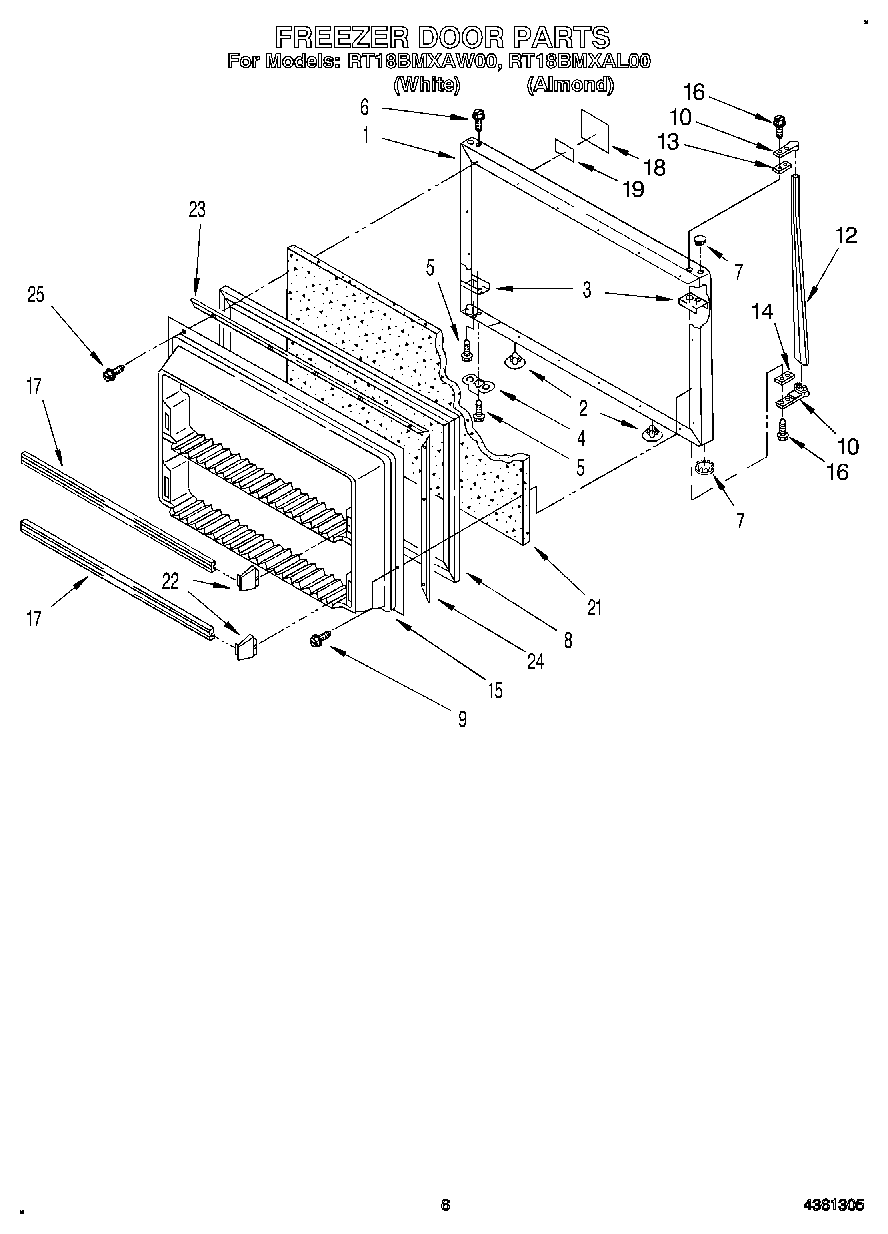
RT18BMXAL00 05 – FREEZER DOOR