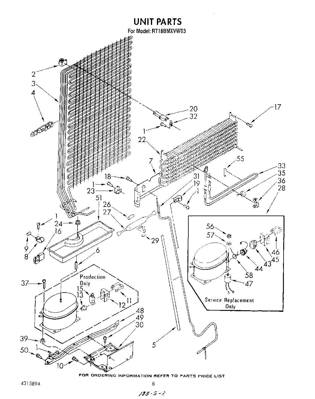
RT18BMXVG03 07 – UNIT