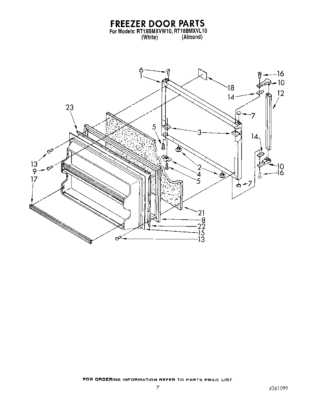
RT18BMXVL10 06 – FREEZER DOOR