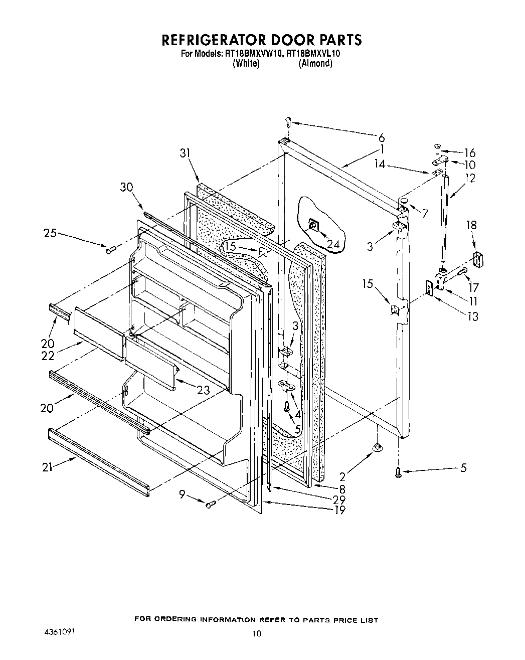
RT18BMXVW10 08 – REFRIGERATOR DOORadmin2025-04-26T08:52:14+00:00RT18BMXVW10 08 – REFRIGERATOR DOOR
Products
| Position | Product |
|---|
| 1 | Panel, Refrigerator Door (White) |
| 1 | Panel, Refrigerator Door (Almond) |
| 2 | Hole Plug (2) |
| 3 | W10833053 Whirlpool Refrigerator Plate |
| 4 | Bracket, Door Stop |
| 5 | WP488921 Whirlpool Refrigerator Screw |
| 6 | WP8281206 Whirlpool Refrigerator Screw |
| 7 | WP2212648 Whirlpool Refrigerator Hinge Sleeve Hole Plug |
| 7 | Hole Plug (Almond) |
| 8 | Door Gasket, Magnetic |
| 9 | WP489069 Whirlpool Compactor Screw |
| 10 | Handle End |
| 11 | Handle End, |
| 12 | Handle, Center |
| 13 | Shim, Handle |
| 14 | Spa |
| 15 | WP939101 Whirlpool Refrigerator Plate |
| 16 | WP488920 Whirlpool Refrigerator Screw |
| 17 | WP488729 Whirlpool Refrigerator Door Screw |
| 18 | Cover, End Cap |
| 19 | Interior Door Panel |
| 20 | Trim, Door (2) |
| 21 | Trim, Door |
| 22 | Compartment Door, Utility |
| 23 | Compartment, Butter Door |
| 24 | Hole Plug, Handle (Almond) |
| 24 | WP2189000 Whirlpool Refrigerator Handle Plug |
| 29 | Gasket Retainer, Side (2) |
| 30 | Gasket Retainer, Top & Bottom (2) |
| 31 | WPL 876029 |