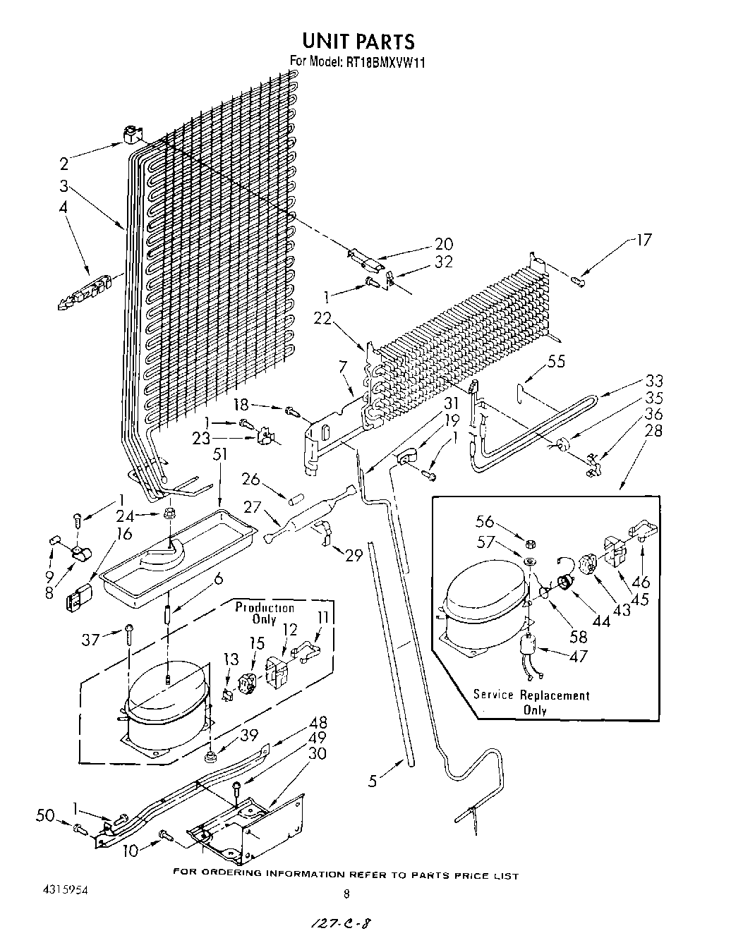
RT18BMXVW11 07 – UNIT