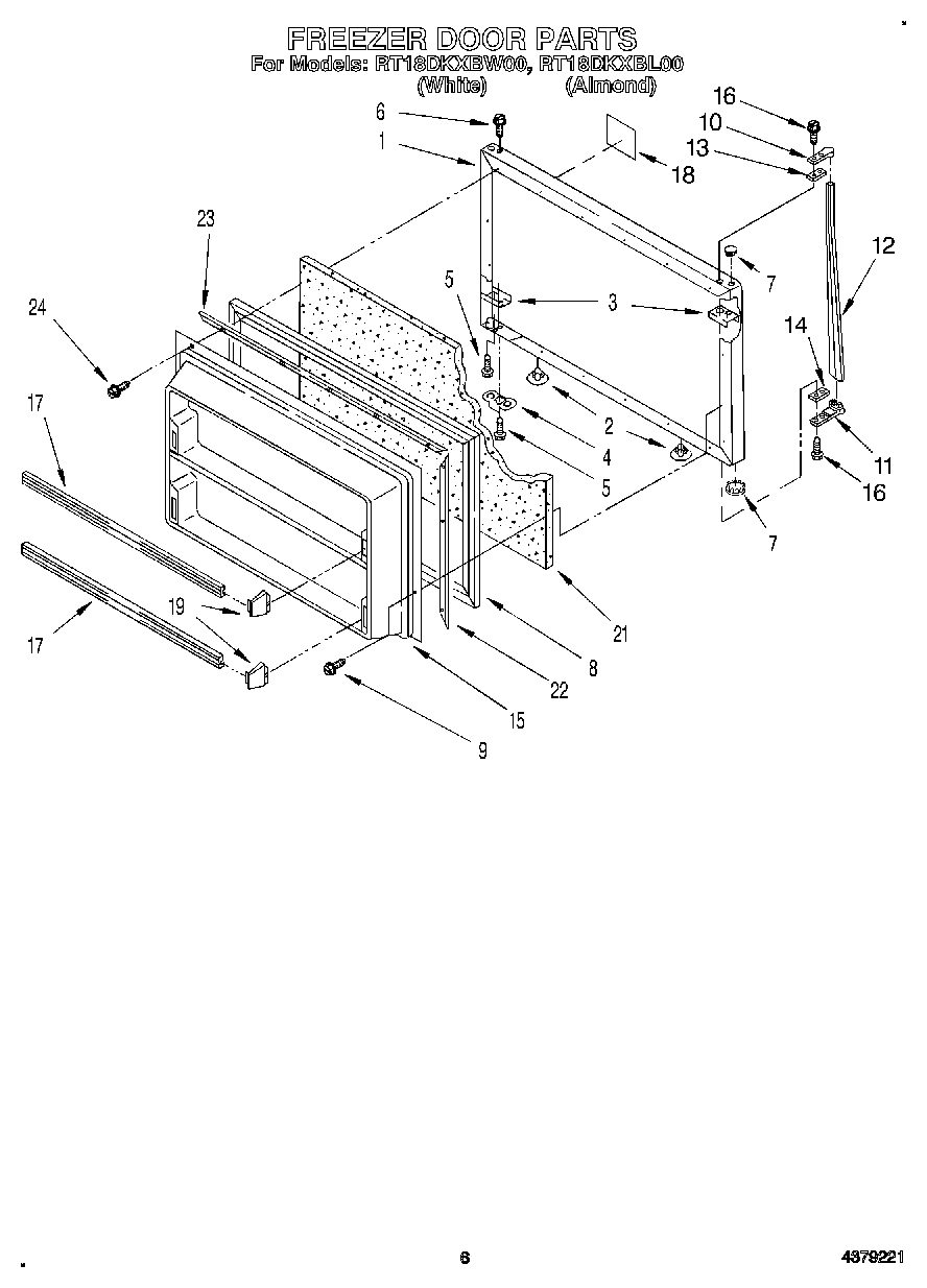
RT18DKXBW00 05 – FREEZER DOOR