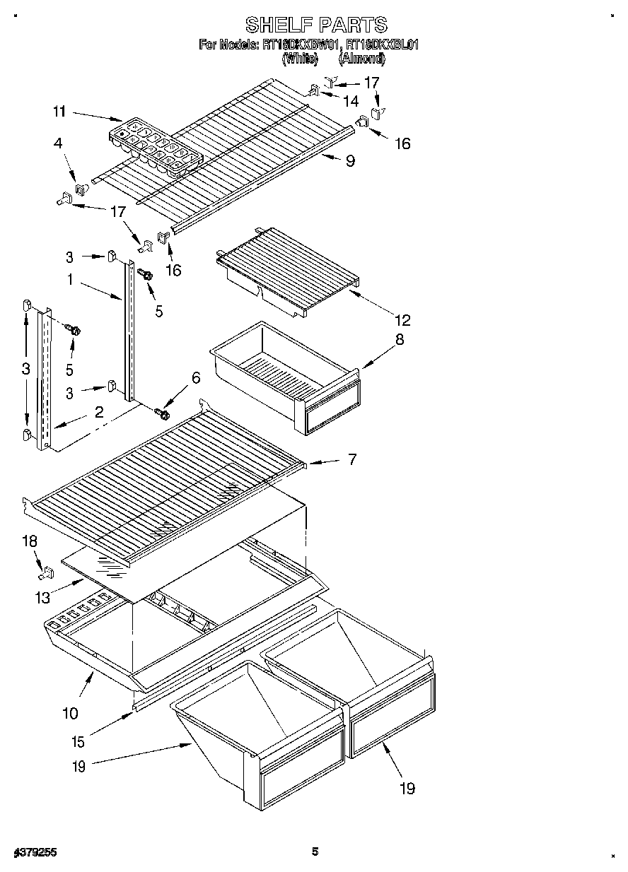
RT18DKXBW01 04 – SHELF