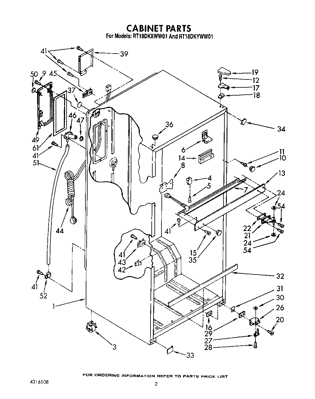
RT18DKXWG01 02 – CABINET

RT18DKXWG01 02 – CABINET