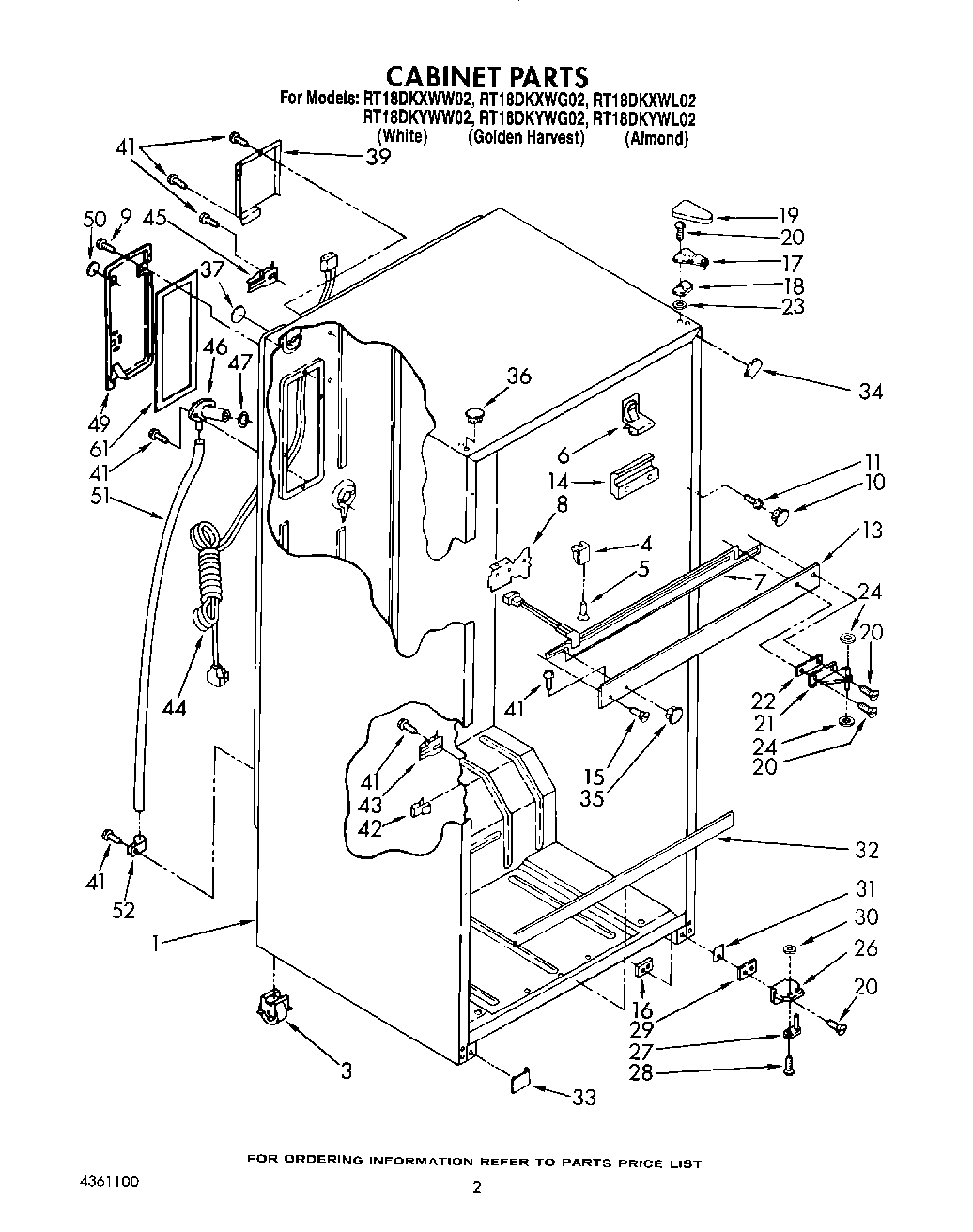
RT18DKXWL02 02 – CABINET

RT18DKXWL02 02 – CABINET