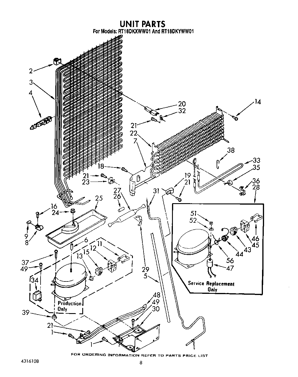
RT18DKXWW01 07 – UNIT