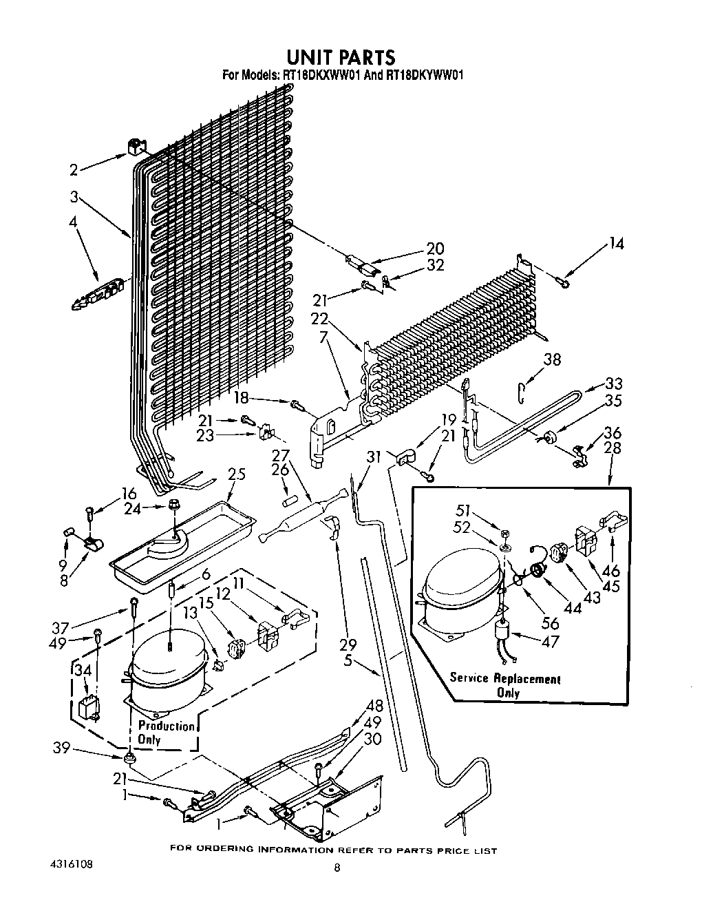
RT18DKYWG01 07 – UNIT