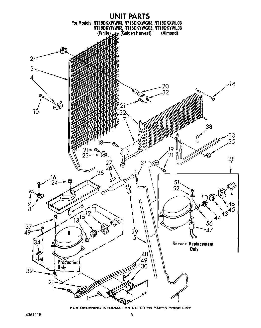
RT18DKYWG03 07 – UNIT