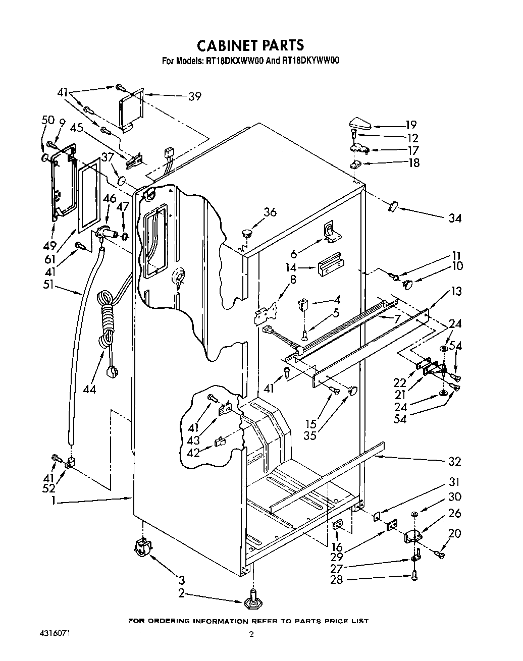
RT18DKYWL00 02 – CABINET

RT18DKYWL00 02 – CABINET